今晚必开生肖图特马-免费完整资料

今晚必开生肖图特马
  • 关于我们
    公司介绍
    技术团队
    科技平台
  • 工程设计
    超薄电子玻璃
    高端浮法玻璃
    光伏压延玻璃
    硼硅玻璃
  • 技术服务
    客户咨询
    缺陷诊断与解决
    长期技术支持
    快速换色
    包投产
  • 创新研发
    药用玻璃
    防火玻璃
    高铝AR玻璃
    微晶玻璃
  • 玻璃装备
    原料系统
    窑炉系统
    成型系统
    退火系统
    冷端系统
    配套系统
  • 工程案例
    国际工程
    国内工程
  • 新闻中心
    公司新闻
    行业新闻
  • 联系我们

CN >

CN EN
今晚必开生肖图特马
今晚必开生肖图特马
  • 公司新闻
  • 行业新闻
  • 今晚必开生肖图特马
  • 您的位置:
  • 新闻中心
  • 今晚必开生肖图特马
  • 行业新闻
今晚必开生肖图特马

坩埚腐蚀对CaO-MgO-Al2O3-SiO2系高炉渣微晶玻璃的影响

海控科技在期刊《中国陶瓷》第54卷第4期发表了论文《坩埚腐蚀对CaO-MgO-Al2O3-SiO2系高炉渣微晶玻璃的影响》。

查看更多今晚必开生肖图特马
今晚必开生肖图特马

大干三季度|海控科技承建玻璃窑炉及配套烟气处理项目圆满竣工

自海南控股启动“大干三季度,决胜全年红”攻坚行动以来,今晚必开生肖图特马(以下简称“海控科技”)迅速响应集团部署,以“保履约、提效能、强担当”为目标,全力推进重点项目建设。

查看更多今晚必开生肖图特马
今晚必开生肖图特马

海南发展党委书记、董事长杨晓强到海控科技调研 夯实高质量发展基础

8月27日,海南发展党委书记、董事长杨晓强一行到海控科技调研,通过实地察看实验室、召开专题座谈会深入了解海控科技经营发展与科研创新进展情况,针对发展难题,研究分析解决路径。

查看更多今晚必开生肖图特马
今晚必开生肖图特马

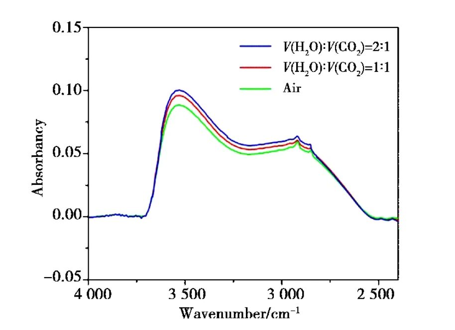
浮法玻璃下开口泡形成机理研究

海控科技在期刊《硅酸盐通报》第37卷第3期发表了论文《浮法玻璃下开口泡形成机理研究》。

今晚必开生肖图特马 更多
08-28

2025

今晚必开生肖图特马

浮法玻璃熔窑陶瓷鼓泡器安装后的工艺控制及分析

海控科技在期刊《玻璃与搪瓷》第45卷第4期发表了论文《浮法玻璃熔窑陶瓷鼓泡器安装后的工艺控制及分析》。

今晚必开生肖图特马 更多
08-21

2025

今晚必开生肖图特马

海控科技开展2025年防台防汛应急演练 提升应急处置能力

8 月 8 日,公司成功开展了 防台防汛应急演练。此次演练内容丰富、组织有序,涵盖了安全知识培训、观看教育视频以及实战演练等多个重要环节。

今晚必开生肖图特马 更多
08-14

2025

今晚必开生肖图特马

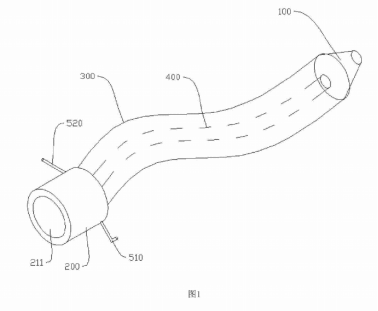
一种浮法玻璃锡槽的玻璃带冷却降温装置

本实用新型属于浮法玻璃的制造技术领域,具体涉及一种浮法玻璃锡槽的玻璃带冷却降温装置。

今晚必开生肖图特马 更多
08-07

2025

今晚必开生肖图特马

【公开征集】关于今晚必开生肖图特马光电特种玻璃示范线处置的公告

今晚必开生肖图特马拟对光电特种玻璃示范线进行废旧物资处置,现向社会发布公开征集公告。

今晚必开生肖图特马 更多
07-25

2025

今晚必开生肖图特马

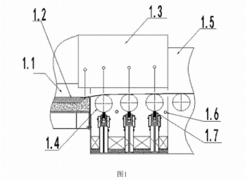
全氧玻璃熔窑大碹用钢碹碴

本实用新型属于浮法玻璃的制造技术领域,具体涉及一种浮法玻璃锡槽的玻璃带冷却降温装置。

今晚必开生肖图特马 更多
07-24

2025

今晚必开生肖图特马 今晚必开生肖图特马

咨询

今晚必开生肖图特马 今晚必开生肖图特马

电话

86-898-67480342

今晚必开生肖图特马 今晚必开生肖图特马

公众号

今晚必开生肖图特马
关于我们
公司介绍
技术团队
科技平台
工程设计
超薄电子玻璃
高端浮法玻璃
光伏压延玻璃
硼硅玻璃
技术服务
客户咨询
缺陷诊断与解决
长期技术支持
快速换色
包投产
创新研发
药用玻璃
防火玻璃
高铝AR玻璃
微晶玻璃
玻璃装备
原料系统
窑炉系统
成型系统
退火系统
冷端系统
配套系统
工程案例
国际工程
国内工程
新闻中心
公司新闻
行业新闻
联系我们
今晚必开生肖图特马 86-898-67480342

地 址:海南老城经济开发区海南生态软件园A-11

今晚必开生肖图特马
友情链接

>

  • 百度

COPYRIGHT ©2022今晚必开生肖图特马 ALL RIGHTS RESERVED.

备案号:琼ICP备17001839号

技术支持:中为科技