曲棍式热电偶

日期:2025-05-1489

申请号201220731722.0

申请日 2012.12.27

本实用新型属于浮法玻璃生产技术领域,主要提出一种曲棍式热电偶。

背景技术:

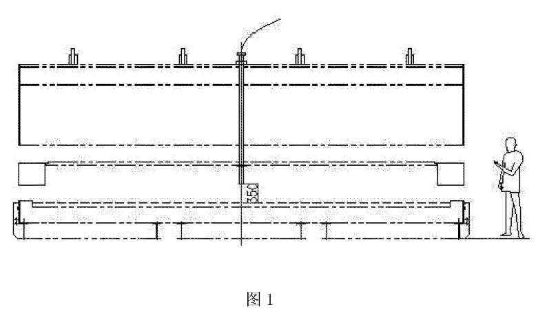
浮法玻璃生产中浮法线锡槽内玻璃板面的实际温度是正常生产所必需的重要参数,如图1所示,目前测量浮法线锡槽内玻璃板面实际温度的工作由吊挂在锡槽顶部的棍式热电偶完成,采用这种方法的主要缺点是 :1、该热电偶因为一次性安装,探头位置距离玻璃液面一般在 350m 左右,且不能改变,其测量的温度受锡槽内气流等影响,所测温度实际是锡槽环境温度,而不是玻璃板面的实际温度。2、该热电偶因为位置固定,容易被碰掉、损坏,造成堵塞玻璃液。

发明内容:

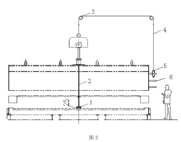
本实用新型提出的一种曲棍式热电偶,操作工通过锡槽观察口或在钢索上事先做好的标示,拉动钢索使杆头迅速贴近玻璃液面,杆头与玻璃液面之间的距离为 25mm,此时所测量的温度可以认为是玻璃板面真实温度;当由于工艺要求,需要对锡槽内部进行处理时,可拉动钢索,使杆头远离玻璃液面,腾出空间,可从容处理锡槽内部,避免了热电偶被损坏、造成玻璃液堵塞现象的发生。

附图说明:

今晚必开生肖图特马

图1为现有技术中热电偶的结构示意图

今晚必开生肖图特马

图3为本实用新型的结构示意图


图中 :1、杆头,2、杆体,3、滑轮,4、钢索,5、固定环,6、定位板.


相关工程