一种浮法线渣箱的过渡辊用擦辊装置

日期:2025-01-03174

申请号202310471459.9

申请日 2023.04.26

本发明涉及浮法玻璃生产技术领域,具体涉及一种浮法线渣箱的过渡辊用擦辊装置。

今晚必开生肖图特马

背景技术:

在实际的生产过程,固定石墨块的顶起装置(板簧或其他形式的钢件)在长期的高温条件下和受S02气体的腐蚀环境中,材料性能会很快发生衰减而失去弹力或严重变形,使得磨损后的固定石墨块  接触不到辊子而失去打清洁辊子的作用,这是渣箱设计和使用寿命研究中历时很久但仍旧无法彻底解决的难题:固定石墨块本体顶面因为与辊子有间隙而透火,密封性变差,外来02经过该通道渗透进入锡槽污染锡液的几率增加,进而造成锡槽出口和渣箱内部环境恶性循环,最终导致辊子表面的积存的外来异物越来越多,不得不将辊子拉出更换,旧辊子离线打磨清洁后,再安装到渣箱内,整个更换过程繁琐且费时费力,大约每次8小时左右,对生产稳定性和在线玻璃成品率造成严重恶劣影响。

今晚必开生肖图特马

发明内容:

本发明的目的是针对上述技术中存在的不足之处,提出一种浮法线渣箱的过渡辊用擦辊装置,利用过渡辊需要检修或清理过程中更换石墨块的机会,对辊子表面污染物进行精准定点打磨擦洗,尽可能减少或消除繁琐的更换过渡辊子所消耗的无效作业时间和繁重的人工劳力成本。

在过渡辊需要检修或清理过程中,仅利用更换过渡辊子下方固定石墨块的机会,推动车架将固定杆及装配有临时石墨块的安装座整体伸入至过渡辊下方,通过紧固件调节支撑架的高度位置,并通过配重组件平衡固定杆两端的受力,利用张紧装置收卷拉绳,拉绳牵引连接杆并驱使连接杆带动石累块抵接在过渡辊上,随后适量增加配重组件的配重量,并配合张紧装置进一步收卷拉绳,增大石墨块与过渡辊之间的压力,以提高石墨块的打磨效果,实现对过渡辊的精准定点打磨擦洗,该过程保持辊子在线转动,且不需要将过渡辊拉出进行清理,在保证清洁效果的同时,减少了人力劳动成本,具有良好的经济效益。

今晚必开生肖图特马

附图说明:

今晚必开生肖图特马

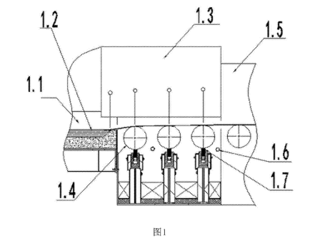
图1 现有的浮法玻璃生产成型工艺流程中过渡辊处的结构示意图

今晚必开生肖图特马

图2 本发明某一实施例的结构示意图


图中,1.1-锡槽:1.2-玻璃带;1.3-渣箱;1.4-过渡辊子;1.5-退火窑:1.6-S02号导管;1.7-固定石墨块;1-车架:2-支撑座:21-紧固件;3-支撑架:4-固定杆:5-连接杆:51-安装座:511-卡槽:52-石墨块:6-配重组件;61-配重台:611-限位杆:62-配重块:621-滑槽;7张紧装置;8-拉绳。


相关工程