浮法玻璃在线镀膜器悬挂装置

日期:2024-10-12164

申请号:201610674513.X

申请日:2016.08.17


本发明属于浮法玻璃锡槽镀膜器的制造技术领域,具体涉及一种浮法玻璃在线镀膜器悬挂装置。

今晚必开生肖图特马

背景技术:

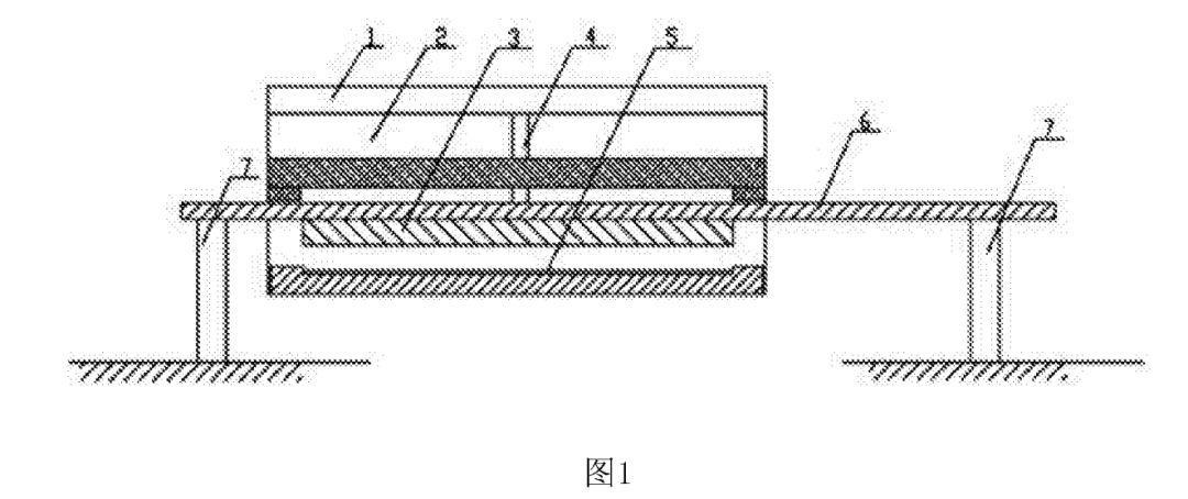
目前国内在线镀膜技术如图1所示,包括锡槽1,密封罩2,镀膜器3,悬挂平台6,该悬挂平台也是一个水包,在其横截面下侧有两个U型槽,可当导轨用,悬挂平台6放在支撑装置7上,同时悬挂平台6中部吊挂于密封罩2内的吊挂件4上,这样设计会造成悬挂平台6的下次产生较大挠度,有轻微弯曲,镀膜器3喷出的是纳米级颗粒,因此可能会导致镀膜器3对玻璃板5的镀膜厚度不均匀,膜层厚度不均会导致有质量问题,在锡槽1高温下这种效应也会放大,因此保证悬挂装置不变形才能保证镀膜器3与玻璃板5的水平距离保持精准一致。

今晚必开生肖图特马

发明内容:

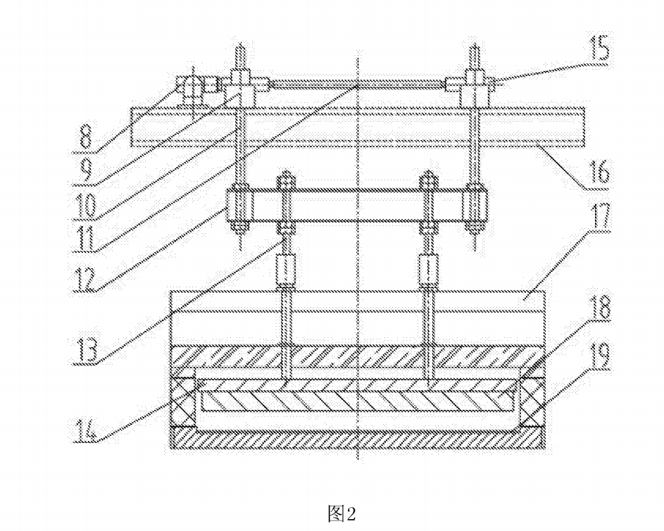
本发明提出的一种浮法玻璃在线镀膜器悬挂装置,使悬挂平台直接完全设置在锡槽内,通过升降机构调整镀膜器与玻璃板之间的距离,升降钢平台通过四根升降丝杠连接,四个涡轮螺栓升降机安装在锡槽上方的钢结构平台上,通过连接杆连成一个整体,构成一个可同时精确升降的平台,电动机带动平台及镀膜器升降,调整镀膜器与玻璃板之间的间隙。由于悬挂装置几乎不产生变形,从而保证镀膜器下表面与玻璃板之间的水平距离非常精确,最终保证镀膜器喷出的纳米级颗粒均匀地附着在玻璃板上,较大程度上提高了镀膜玻璃的质量。

 

今晚必开生肖图特马

附图说明:

今晚必开生肖图特马

图1为现有技术中镀膜器悬挂装置的结构示意图

今晚必开生肖图特马

图2为本发明的结构示意图


图中:1、锡槽,2、密封罩,3、镀膜器,4、吊挂件,5、玻璃板,6、悬挂平台,7、支撑装置,8、电机,9、涡轮螺旋升降机,10、升降丝杆,11、连接杆,12、升降钢平台,13、升降杆,15、涡轮轴,16、钢平台


相关工程