一种基于过渡辊台传动辊清洁装置使用的调节机构

日期:2024-08-22245

申请号202320712926.8

申请日 2023.04.03

本实用新型提供了一种基于过渡辊台传动辊清洁装置使用的调节机构。



背景技术:

在浮法玻璃生产成型工艺流程中过渡辊台起到连接锡槽和退火窑的承上启下的桥梁作用,生产中需要间隔一段时间,不仅需要对过渡辊台自带的石墨顶起装置进行检修或彻底更换。最重要的是在检修期间,也需要对被粘附的、顽固的外来粘附异物(锡斑、氧化锡灰、硫化锡灰、碎玻璃细渣等)污染严重的传动辊进行行之有效的对点对位人工彻底强化清洁。如果操作工具和方法不得当,会导致劳动强度很大,费工、费时、费力、玻璃产品质量较差的问题。



发明内容:

本实用新型的目的是针对上述传动辊离线清洁技术中存在的不足之处,提出一种基于过渡辊台传动辊清洁装置使用的调节机构,在保证辊子本身结构材料完整性的同时达到彻底强化清洁传动辊的目的。

需要清洁更换下来的辊子时,将辊子架在一个带小电机的临时支撑架上,保持辊子慢速转动,而后将本发明推动至待清洁的传动辊下端,利用本发明设计的的科学对位、弹性组件配压、气缸调压等手段,强化调节石墨块与辊子的接触摩擦力,在保证不损坏划伤辊子的基础上,去除辊子(如陶瓷辊,镀瓷辊)上的严重污染物。操作时,将车架推动至待清洁的传动辊处,首先转动回转台驱使石墨条上弧形槽的轴线与传动辊轴线趋于平行,通过驱动装置驱使升降台带动石墨条上升,石墨条上的弧形槽抵接在传动辑上,传动辊与弧形槽配合驱使回转台转动以驱使弧形槽轴线与传动辊轴线自动平行,并在弹性件和弹性组件的作用下,石墨条保持与传动辊弹性抵接的状态,具有自动调节石墨条位置的作用,无需人工多次调节石墨条位置,在节约人力劳动资源的同时,维持石墨条对传动辊的清洁效果。



附图说明:

今晚必开生肖图特马

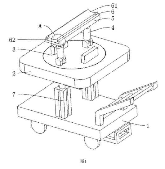
图1为本实用新型某一实施例的结构示意图

今晚必开生肖图特马

图2为图1中A处的放大图

今晚必开生肖图特马

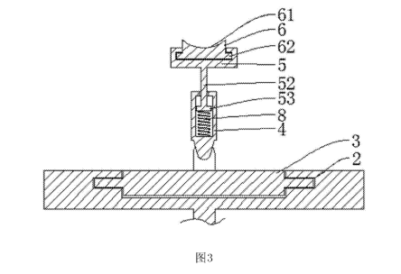
图3为本实用新型某一实施例中回转台处的结构示意图

今晚必开生肖图特马

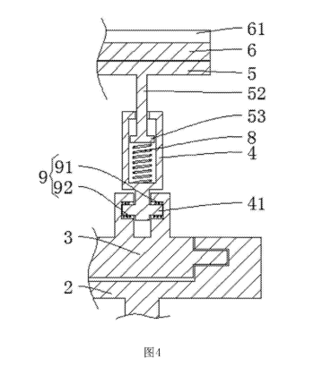
图4为本实用新型某一实施例中简体和弹性组件处的结构示意图


图中,1-车架;2-升降台;3-回转台;4-简体;41-转杆;5-安装座;51-插槽;52-安装杆:53-盘体:6-石墨条:61-弧形槽:62-插接部:7-驱动装置:8-弹性件:9-弹性组件;91-第一扭簧;92-第二扭簧。


相关工程