过渡辊台的换辊小车

日期:2024-02-05216

申请号:201220732411.6

申请日:2012.12.27

本实用新型属于浮法玻璃生产技术领域,主要涉及一种过渡辊台的换辊小车。

今晚必开生肖图特马

背景技术

过渡辊台位于锡槽的出口端,是浮法玻璃生产锡槽设备的延续,也是锡槽与退火窑之间的过渡部分,由于过渡辊为合金材质,极易在高温下与其他物质发生反应,导致辊体表面腐蚀或产生不易清掉的小疙瘩,而导致玻璃下表面的划伤,因此需要依据玻璃质量的变化定期更换过渡辊。

今晚必开生肖图特马

发明内容

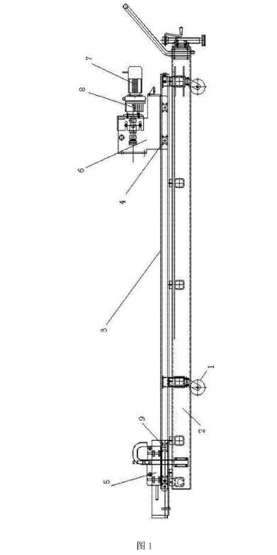
本实用新型属于浮法玻璃生产技术领域,主要涉及一种过渡辊台的换辊小车。提出的一种过渡辊台的换辊小车包括有支撑机构、辊子移动机构和辊子转动机构;支撑机构具有脚轮(1)和支撑平台(2),辊子移动机构具有轨道(3)、滚轮Ⅰ(4)以及托架(5);辊子转动机构由支架(6)、电机(7)以及联轴器(8)组成。本实用新型结合利用过渡辊台的结构,在正常生产过程中,在辊子保持转动的情况下,利用过渡辊台现有结构通过滚轮滚动抽出辊子,避免了辊子发生径向变形,轻松地完成对过渡辊台辊子的更换。

今晚必开生肖图特马

附图说明

图1为本实用新型的结构示意图

图中:1、脚轮,2、支撑平台,3、轨道,4、滚轮Ⅰ,5、托架,6、支架,7、电机,8、联轴器,9、滚轮Ⅱ。

今晚必开生肖图特马


相关工程